聯係方式 |
| 電話(市場部):0517-86851868 |
| |
| |
| (拓展部): |
| 傳真: |
節假日商務聯係電話:
何經理:
紀經理: |
| 郵編:211600 |
| 網址:http://007gupiao.cn/ |
| http://www.sukeyb.com/ |
| E-mail: |
| |
地址:江蘇省金湖縣工業園區環城西
路269號 |
|
|
 |
您現在的位置 > 首頁 > 行業新聞 > 雙金屬溫度計的幾種安裝形式 |
雙金屬溫度計的幾種安裝形式 |
雙金屬溫度計的(de)工(gong)作(zuo)原(yuan)理(li)是(shi)利(li)用(yong)二(er)種(zhong)不(bu)同(tong)溫(wen)度(du)膨(peng)脹(zhang)係(xi)數(shu)的(de)金(jin)屬(shu),一(yi)端(duan)焊(han)接(jie)在(zai)固(gu)定(ding)點(dian),另(ling)一(yi)端(duan)當(dang)溫(wen)度(du)變(bian)化(hua)時(shi)扭(niu)曲(qu)變(bian)形(xing),將(jiang)其(qi)轉(zhuan)換(huan)成(cheng)指(zhi)針(zhen)偏(pian)轉(zhuan)角(jiao)度(du),指(zhi)示(shi)溫(wen)度(du)。抽(chou)芯(xin)式(shi)是(shi)指(zhi)雙(shuang)金(jin)屬(shu)感(gan)溫(wen)元(yuan)件(jian)可(ke)以(yi)從(cong)外(wai)保(bao)護(hu)管(guan)內(nei)抽(chou)出(chu)更(geng)換(huan),是(shi)使(shi)用(yong)廣(guang)泛(fan)的(de)現場指示溫度計。
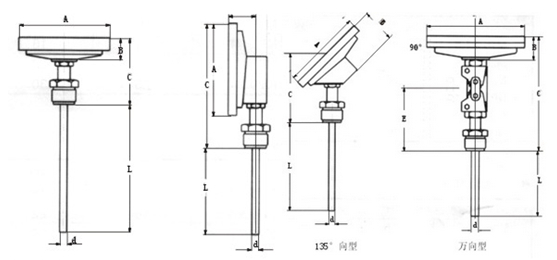
按雙金屬溫度計指針盤與保護管的連接方向可以把雙金屬溫度計分成軸向型、徑向型、135°向型和萬向型四種。
1、徑向型雙金屬溫度計:指針盤與保護管平行連接;
2、135°向型雙金屬溫度計:指針盤與保護管成135°連接;
3、萬向型雙金屬溫度計:指針盤與保護管連接角度可任意調整;
4、軸向型雙金屬溫度計:指針盤與保護管垂直連接。

|
|