ÁªÏµ·½Ê½ |
| µç»°(Êг¡²¿):0517-86851868¡¡¡¡ |
| ¡¡¡¡¡¡¡¡¡¡¡¡¡¡ |
| ¡¡¡¡¡¡¡¡¡¡¡¡¡¡ |
| ¡¡¡¡¡¡(ÍØÕ¹²¿): |
| ´«Õæ: |
½Ú¼ÙÈÕÉÌÎñÁªÏµµç»°:
ºÎ¾Àí:
¼Í¾Àí: |
| Óʱà:211600 |
| ÍøÖ·:http://007gupiao.cn/ |
| ¡¡¡¡¡¡ http://www.sukeyb.com/ |
| E-mail: |
| |
µØÖ·:½ËÕÊ¡½ðºþÏØ¹¤ÒµÔ°Çø»·³ÇÎ÷
·269ºÅ |
|
|
 |
ÄúÏÖÔÚµÄλÖà > Ê×Ò³ > ²úÆ·ÖÐÐÄ |
LZB-BHÐÍ·À»¤ÐͲ»Ðâ¸Ö²£Á§×ª×ÓÁ÷Á¿¼Æ
|
LZB-BHÐÍ·À»¤ÐͲ»Ðâ¸Ö²£Á§×ª×ÓÁ÷Á¿¼ÆÖ÷ÒªÓÃÓÚ²âÁ¿¹ÜµÀÄÚµ¥Ïà·ÇÂö¶¯µÄÒºÌå¡¢ÆøÌå½éÖʵÄ˲ʱÁ÷Á¿£¬·À»¤ÐͲ»Ðâ¸Ö²£Á§×ª×ÓÁ÷Á¿¼ÆÓë½éÖʽӴ¥µÄ²¿Î»Ö÷Òª²ÄÖÊÊDz»Ðâ¸Ö304£¬²£Á§¹Ü²ÉÓøßÅô¹èÖʲ£Á§£¬ÆäÄÍѹµÈ¼¶Îª0.4MPa~0.6MPa,Õý³£ÄÍÎÂÔÚ60¡æÒÔÄÚ£¬·À»¤Ð͵ÄÍâ¿ÇÖ÷Òª·ÀÖ¹Óû§ÔÚʹÓÃʱÓÉÓÚ²Ù×÷²»µ±»òÕßϵͳ³öÏÖ·ÇÕý³£Çé¿öϽéÖʽ«²£Á§¹Ü³åÆÆ¶øµ¼Ö½éÖÊÅ罦¶ø·¢Éú°²È«Ê¹ʣ¬·À»¤ÐͲ»Ðâ¸Ö²£Á§×ª×ÓÁ÷Á¿¼ÆÖ÷ÒªÓ¦ÓÃÓÚʯÓÍ»¯¹¤¡¢Ò½Ò©Ê³Æ·¡¢·ÄÖ¯ÇṤ¡¢»·±£Ë®´¦ÀíµÈ¹¤ÒµÓë¿ÆÑв¿ÃÅ¡£
Ò»¡¢¼¼ÊõÖ¸±ê
1¡¢¹«³Æ¿Ú¾¶£ºDN15 DN25 DN40 DN50 DN80 DN100
2¡¢¹«³ÆÑ¹Á¦£º0.4MPa 0.6MPa
3¡¢¾«¶ÈµÈ¼¶£º2.5¼¶ 4¼¶
4¡¢¹¤×÷ζȣº≤60¡æ
5¡¢ÀàÐÍ£ºÁ¥ÊôÓÚ±äÃæ»ýʽÁ÷Á¿¼Æ
6¡¢ÊÊÓýéÖÊ£ºÆøÌå»òÕßÒºÌå
¶þ¡¢¼¼Êõ²ÎÊý
ÐͺŠ|
LZB-15BH |
LZB-25BH |
LZB-40BH |
LZB-50BH |
LZB-80BH |
LZB-100BH |
¹«³ÆÍ¨¾¶£¨mm£© |
DN15 |
DN25 |
DN40 |
DN50 |
DN80 |
DN100 |
²âÁ¿·¶Î§ |
ÒºÌå
L/h |
¡ï6~60 |
40~400 |
160~1600 |
¡ï160~1600 |
1~10m3/h |
5~25m3/h |
¡ï8~80 |
60~600 |
¡ï180~1800 |
400~4000 |
1.6~16m3/h |
¡ï6~35 m3/h |
16~160 |
100~1000 |
250~2500 |
600~6000 |
¡ï2~20m3/h |
8~40 m3/h |
25~250 |
¡ï160~1600 |
¡ï300~3000 |
¡ï800~8000 |
¡ï3~25m3/h |
¡ï12~60 m3/h |
40~400 |
|
¡ï400~4000 |
¡ï1~10m3/h |
¡ï8~40m3/h |
¡ï16~80 m3/h |
|
|
¡ï1~5m3/h |
¡ï4~16m3/h |
|
¡ï20~90 m3/h |
|
|
¡ï1.5~6m3/h |
|
|
¡ï20~100 m3/h |
|
|
|
|
|
¡ï50~120m3/h |
ÆøÌå
Nm3/h |
0.25~2.5 |
¡ï0.8~8 |
4~40 |
¡ï6~60 |
50~250 |
¡ï60~200 |
0.4~4 |
1~10 |
¡ï5~50 |
10~100 |
80~400 |
¡ï80~400 |
0.6~6 |
1.6~16 |
6~60 |
16~160 |
¡ï50~500 |
¡ï 100~500 |
¡ï0.8~8 |
2.5~25 |
¡ï7~70 |
¡ï20~200 |
¡ï60~600 |
120~600 |
¡ï1~10 |
¡ï3~30 |
?? ¡ï8~80 |
¡ï30~300 |
|
200~1000 |
|
¡ï4~40 |
¡ï10~100 |
¡ï50~250 |
|
¡ï300~1500 |
|
|
|
¡ï80~400 |
|
¡ï400~2000 |
|
|
|
|
|
¡ï500~2500 |
¾«¶ÈµÈ¼¶£¨¡À£¥£© |
4 |
2.5 |
2.5 |
2.5 |
2.5 |
2.5 |
¹¤×÷ѹÁ¦
£¨MPa£© |
0.6 |
0.6 |
0.6 |
0.6 |
0.4 |
0.4 |
´ø¡°¡ï¡±ºÅÁ÷Á¿·¶Î§¾ùÎªÌØÖÆÁ÷Á¿·¶Î§£¬ÐèÌØÊâ¶©»õ
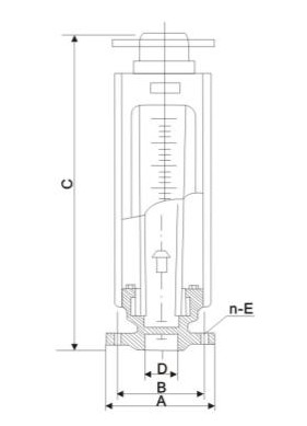
Èý¡¢ÍâÐγߴç

ÐÍ ºÅ
|
³ß´ç |
A |
B |
C |
D |
n-E |
LZB-15BH |
Φ95 |
Φ65 |
470±2.5 |
Φ15 |
4*Φ14 |
LZB-25BH |
Φ115 |
Φ85 |
470±2.5 |
Φ25 |
4*Φ14 |
LZB-40BH |
Φ145 |
Φ110 |
570±3 |
Φ40 |
4*Φ18 |
LZB-50BH |
Φ160 |
Φ125 |
570±3 |
Φ50 |
4*Φ18 |
LZB-80BH |
Φ185 |
Φ150 |
660±3.5 |
Φ80 |
4*Φ18 |
LZB-100BH |
Φ205 |
Φ170 |
660±3.5 |
Φ100 |
4*Φ18 |
|
|
|